Цель – измерение консистенции и срока загустевания цементного раствора.
Задача - определить сроки загустевания тампонажных составов по выбору преподавателя при температуре +750С (с водяной баней).
Консистенция тампонажного раствора, также как и растекаемость, является показателем подвижности тампонажного раствора. По консистенции судят о возможности прокачивания тампонажного раствора в заданный интервал при креплении скважин.
Требования - ГОСТ 26798.1-96 и 26798.2-96.
1. Консистометр, работающий при атмосферном давлении для испытания цементов, предназначенных для низких, нормальных и умеренных температур (КЦ-5). Консистометр представляет собой герметичную камеру, в которую помещен цилиндрический контейнер для цементного теста с лопастным перемешивающим устройством. Пространство между контейнером и стенками камеры должно быть заполнено маслом, вязкостью от 5 до 100 Вс.
2. Консистометр, работающий при повышенном давлении, для испытания цементов, предназначенных для повышенных температур (КЦ-3, КЦ-4). Допускается применение данного консистометра для испытаний цементов, предназначенных для низких, нормальных и умеренных температур, эксплуатируемого в данном случае при атмосферном давлении.
Частота вращения консистометров должна быть (150±5) об/мин. Консистометры должны быть откалиброваны в соответствии с инструкцией к прибору.
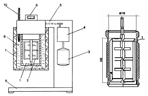
Консистометр КЦ-5, представляет собой своеобразную механическую мешалку (рис. 2.1) состоит из стакана для цементного раствора 1, приводимого во вращение электродвигателем 3, и рамки с полостями 2, помещаемой внутрь стакана. При вращении стакана, заполненного цементным раствором, между раствором и лопастями возникают силы трения, приводящие к повороту рамки и закручиванию калиброванной пружины.
Рис. 2.1. Консистометр
КЦ-5 и чаша консистомера
1- стакан; 2 – рамка (лопастное перемешивающее устройство; 3 – электродвигатель;
4 - редуктор; 5 – кронштейн; 6 – станина;
7 – нагреватель; 8 - водяная баня; 9 – шкала; 10 – термометр
Шкала консистометра 9 градуирована либо в единицах консистенции, либо в градусах, соответствующих углу закручивания измерительной пружины. В последнем случае к консистометру прилагают тарировочную кривую зависимости между углом закручивания пружины в градусах и единицам консистенции (Па×С) раствора. Время, за которое консистенция раствора достигает 30 условных единиц консистенции (УЕК) от начала его перемешивания, называют временем загустевания. За единицу УЕК принимают угол, на который повернется рамка прибора, если стакан будет заполнен ньютоновской жидкостью с динамической вязкостью 1мПа×с.
Начальную консистенцию тампонажного раствора определяют через 20 мин испытания. Цементный раствор считается достаточно подвижным, если его начальная консистенция не превышает 10-15 УЕК. Процесс измерения заканчивают при достижении консистенции 50 УЕК.
1. При подготовке консистометра к эксперименту следует провести его холостой пуск. В рабочем положений рамка с лопастями не должна касаться внутренней поверхности вращающегося стакана; что подтверждается нулевым отчетом по шкале при включении двигателя и остановки (условный нуль соответствует 5 УЕ).
2. Снимают стакан и заливают в него до риски на внутренней поверхности тампонажный раствор (650 см3).
3. Стакан фиксируется в рабочем положении с помощью байонетного замка.
4. Снаружи устанавливают электронагревательное устройство, заполненное необходимым количеством воды.
5. Время от момента затворения тампонажного материала до момента пуска прибора не должно превышать 10 мин (для цементов типа I, II, III ГОСТ26798.2-96) и 5 мин (для цементов типа I-G и I-H ГОСТ26798.1-96).
6. Скорость нагревания контролируют по показателям термометра и регулируют путем изменения напряжения питания электронагревателя. Интенсивность нагрева устанавливают в соответствии с заданием на испытание обычно 0,6-2,5°С в мин.
7. После включения электродвигателя и системы нагрева через каждые 5 мин записывают температуру раствора и показания по шкале прибора.
8. Время загустевания цементного теста считают время от начала затворения цемента водой до момента достижения цементным тестом консистенции 30 Вс. (для цементов типа I, II, III ГОСТ26798.2-96) и 100 Вс (для цементов типа I-G и I-H ГОСТ26798.1-96).
Вс – единицы консистенции Бердена
Для работы в этой лабораторной работе применяются следующие клавиши:
W, S, A, D – для перемещения в пространстве;
F2, E – аналоги средней клавиши манипулятора (при первом нажатии берется объект, при последующем – ставится);
Ctrl – присесть;
F10 – выход из программы.
Z – приближение.

Рис. 3.1. Активные клавиши клавиатуры

Рис. 3.2. Функции манипулятора
Левая клавиша мыши (1) - при нажатии и удерживании обрабатывается (поворачивается, переключается) тот или иной объект.
Средняя клавиша (2) - при первом нажатии (прокрутка не используется) берется объект, при последующем – ставится (прикрепляется).
Правая клавиша (3) - появляется курсор–указатель (при повторном - исчезает).
Примечание: При появившемся курсоре невозможно перевести взгляд вверх и стороны.
В вытяжном шкафу установлен консистометр КЦ-5.

Рис. 3.3. Консистометр КЦ-5
1 – рамка (лопастное перемешивающее устройство); 2 – стакан для цементного раствора;
3 – камера нагрева; 4 – шкала; 5 – дисплей; 6 – место крепления стакана для цементного
раствора; 7 - регулятор скорости нагрева (значения min и max);
8 - кнопка «ВЫКЛ»; 9 - кнопка «ВКЛ»

Рис. 3.5. Дополнительное оборудование
На столе находятся рядом с вытяжным шкафом находятся:
· стеклянный мерный стакан объемом 500 мл, градуировка - 50 мл;
· весы лабораторные, шкала - от 0 до 6 кг;
· чаша для приготовления раствора;
· лопатка для затворения раствора;
· сито.

Рис. 3.6. Автоматическая мешалка
На крайнем столе справа находится автоматическая мешалка, которая состоит из корпуса с приводом; металлического стакана для раствора; перемешивающего устройства, закрепленного на крышке стакана.
Возле окна располагается мойка.
В шкафу находятся мешки с цементом и облегчающей добавкой.
Рис. 3.7. Ингредиенты
Приготовьте тампонажные растворы (по выбору преподавателя).
1. Кликните на одну из емкостей с ингредиентами, появляется меню «Выбор параметров раствора», в котором назначьте параметры.
2. Если чаша для приготовления раствора и стакан для приготовления раствора пусты, то меню «Выбор параметров раствора» вызывается снова, можно выбрать новый параметр.
3. Также можете взять заполненную чашу или стакан и высыпать не полностью приготовленный раствор в бочку с надписью «Использованный раствор», помыть чашу или стакан, и после этого выбрать новый раствор.

Рис. 4.1. Меню "параметры раствора"

Рис. 4.2. Кнопка в меню
4. После выбора параметров раствора в меню необходимо приготовить сам раствор. Приготовление возможно 2-мя способами: ручным и механическим.
1. Возьмите в мешок с раствором, примените его к мерному стакану. Над мерным стаканом появляется сито. Автоматически мешок наклоняется и происходит высыпание цемента в стакан.
2. Стакан поставьте на весы, проведите взвешивание. Массу, показываемую весами, составят масса стакана (800 г) плюс масса цемента.
3. Поставьте мешок с цементом на место. Пересыпьте цемент в объект для смешивания (чашу или металлический стакан миксера).
4. Повторите пп 1-3 для облегчающей добавки.
5. Повторяем пп 1-3 для воды.
Примечание: последовательность выбора цемента и облегчающей добавки не имеет значения, в последнюю очередь в раствор вводится вода.
1. Закройте крышкой стакан, примените к автоматической мешалке. Анимацией стакан появляется снизу мешалки, поднимается, входит в пазы винтами, винты закручиваются.
2. Нажмите на кнопку «ПУСК» на панели управления. Начнется процесс перемешивания, который длится 180 секунд, который нельзя остановить.
Примечание: Закрыть крышкой стакан или применить мешалку к чаше можно, только если набраны все ингредиенты.
Возьмите в руки лопатку для затворения и примените ее к чаше с ингредиентами. Лопатка будет перемешивать раствор и растирать цемент по стенкам в течении 180 сек. Раствор готов.
Примечание: время от момента затворения тампонажного материала до момента пуска прибора не должно превышать 10 мин (для цементов типа I, II, III ГОСТ26798.2-96) и 5 мин (для цементов типа I-G и I-H ГОСТ26798.1-96).
1. Пока не поместили раствор в стакан КЦ-5, можно применить стакан с предустановленным лопастным перемешивающим устройством к прибору и стакан автоматически анимировано установится в специальные пазы. Включите кнопку «ПУСК» на КЦ-5, внутри стакана начнет вращаться рамка с полостями. В рабочем положений рамка с лопастями не должна касаться внутренней поверхности вращающегося стакана; что подтверждается нулевым отчетом по шкале при включении двигателя и остановке (условный нуль соответствует 5 УЕ). Таким образом, вы произведете «холодный запуск».
2. Снимите стакан с КЦ-5 (перед этим выключив прибор, кнопка «ВЫКЛ»), положите на стол.
3. Возьмите объект затворения (стакан автоматической мешалки или чашу для ручного замеса), примените к стакану КЦ-5. Раствор наливается автоматически. Объем стакана КЦ-5 – 650 мл. Поставьте объект затворения на место.
4. Возьмите стакан для цементного раствора и примените его к КЦ-5. Анимировано стакан устанавливается на место.
5. Налейте в нагревательную камеру воду из канистры до половины. Примените камеру к КЦ-5, камера установится автоматически. Закройте канистру.
6. Тумблер нагревателя исходно установлен на середину шкалы. Нажмите на кнопку «ВКЛ». Начнется процесс загустевания раствора.
7. Процесс длительный, поэтому в лабораторной работе происходит ускорение времени в 10 раз.
Начальную консистенцию тампонажного раствора определяют через 20 мин испытания, в нашем случае – 2 мин.
Через каждые 30 сек (≈ 5 мин эксперимента в действительности) фиксируйте температуру раствора и показания по шкале прибора.
Время загустевания цементного теста считают время от начала затворения цемента водой до момента достижения цементным тестом консистенции 30 Вс (для цементов типа I, II, III ГОСТ26798.2-96) и 100 Вс (для цементов типа I-G и I-H ГОСТ26798.1-96).
8. После окончания замера разберите прибор в последовательности обратной сборке, сливая воду и раствор в бочку с использованным раствором. Также в бочку вылейте остатки раствора из объекта затворения.
9. Все «грязные» элементы приборов необходимо промыть. Включите воду. Возьмите загрязненный прибор, примените к мойке. После промывки поставьте прибор на место.
10. Помыв все приборы, можно повторить проведения опыта.
Студент: ФИО, группа.
ОТЧЕТ
по лабораторной работе №
Цель:_______________________________________________________________________________________________________________________________
Задачи: ______________________________________________________________________________________________________________________________________________________________________________________________________
1.Оборудование.
2. Ход работы.
3.Результаты экспериментальных исследований.
4.Выводы.
1. Прибор для определения сроков загустевания и консистенции тампонажного раствора.
2. Принцип замера консистенции тампонажного раствора на приборе КЦ-5.
3. Калибровка прибора КЦ-5.
1. Булатов А.И. Управление физико-механическими свойствами тампонажньх систем / А.И. Булатов. – М.:Недра, 1976. - С.248.
2. Булатов А.И., Данюшевский B.C. Тампонажные материалы / А.И Булатов, B.C. Данюшевский. - М.:Недра, 1987. - 280 с.
3. Данюшевский B.C. Справочное руководство по тампонажным материалам / Данюшевский B.C., Алиев P.M., Толстых И.Ф. - Изд. 2-е, перераб. и доп. - М.:Недра, 1987. - С. 373.
4. Данюшевский B.C. Проектирование оптимальных составов тампонажных цементов / B.C. Данюшевский. – М.:Недра, 1978. - 293 с.
5. Физико-химические аспекты регулирования свойств тампонажных и буровых растворов: учебн. пос. для студентов спец. 090800 «Бурение нефтяных и газовых скважин» / [Овчинников В.П. и др.]; Тюм. гос. нефт.-газ. ун-т, Кафедра бурения. - Тюмень, 1992. – 108 с.
6. Солевые и тампонажные композиции на основе вторичных материальных ресурсов производства соды / [Овчинников В.П. и др.]; Тюм. гос. нефт.-газ. ун-т, Кафедра бурения. - М.: ООО «Недра-Бизнесцентр», 2000. – 214 с.
7. Специальные тампонажные материалы для разобщения пластов в различных термобарических условиях / [Вяхирев В.И. и др.]; Тюм. гос. нефт.-газ. ун-т, Кафедра бурения. – Тюмень: «Вектор Бук», 1997. – 240 с.
8. Специальные тампонажные материалы для разобщения пластов в различных термобарических условиях / [Вяхирев В.И. и др.]; Тюм. гос. нефт.-газ. ун-т, Кафедра бурения. –М.:«Недра-Бизнесцентр», 2002. - 115с.
Лабораторная работа «Измерения консистенции и срока загустевания цементного раствора» по дисциплине «Физико-химические процессы твердения и коррозии цементного камня»
Составители:
Харламов К.Н., к.т.н., доцент каф. «Бурение н/г скважин»
Аксенова Н.А., ассистент каф. «Бурение н/г скважин»
Под редакцией Овчинникова В.П. профессора, д-ра техн. наук
Редактор: Яковлев О.В.
3D-графика: Червов А.С.
Script-программирование: Баканов А.А.